🎙️ Voice Topic Search

🎤 Ready to Search

Click the voice button again and speak the topic name you want to search for.

Example: "Heart anatomy", "Brain structure", "Kidney function"


Topic

Abducens nerve (Cranial nerve VI)

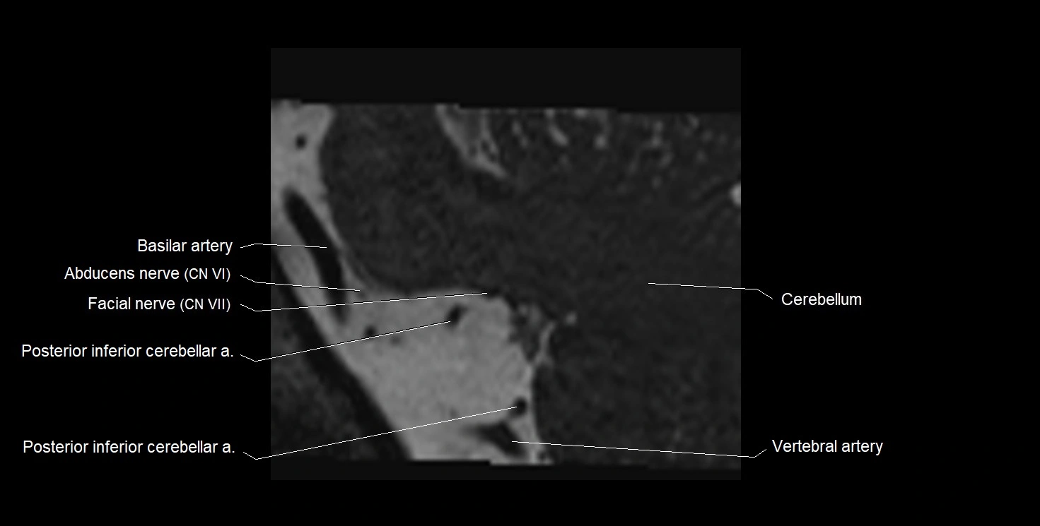
The Abducens nerve (Cranial nerve VI) is a purely motor cranial nerve responsible for innervating the lateral rectus muscle of the eye, which is crucial for lateral movement (abduction) of the eyeball. It arises from the abducens nucleus in the dorsal pons, emerges at the pontomedullary junction, and travels a long intracranial course before entering the orbit via the superior orbital fissure. Because of its long path and proximity to the clivus, it is particularly susceptible to injury from increased intracranial pressure or trauma.

Synonyms

  • Sixth cranial nerve

  • CN VI

  • N. abducens (Latin)

  • Nervus abducens

Function

  • Innervates the lateral rectus muscle of the eye

  • Responsible for abduction of the eyeball (moving the eye outward, away from the midline)

  • Is a purely motor nerve (no sensory or autonomic fibers)

  • Lesion results in inability to abduct the affected eye, leading to horizontal diplopia (double vision)

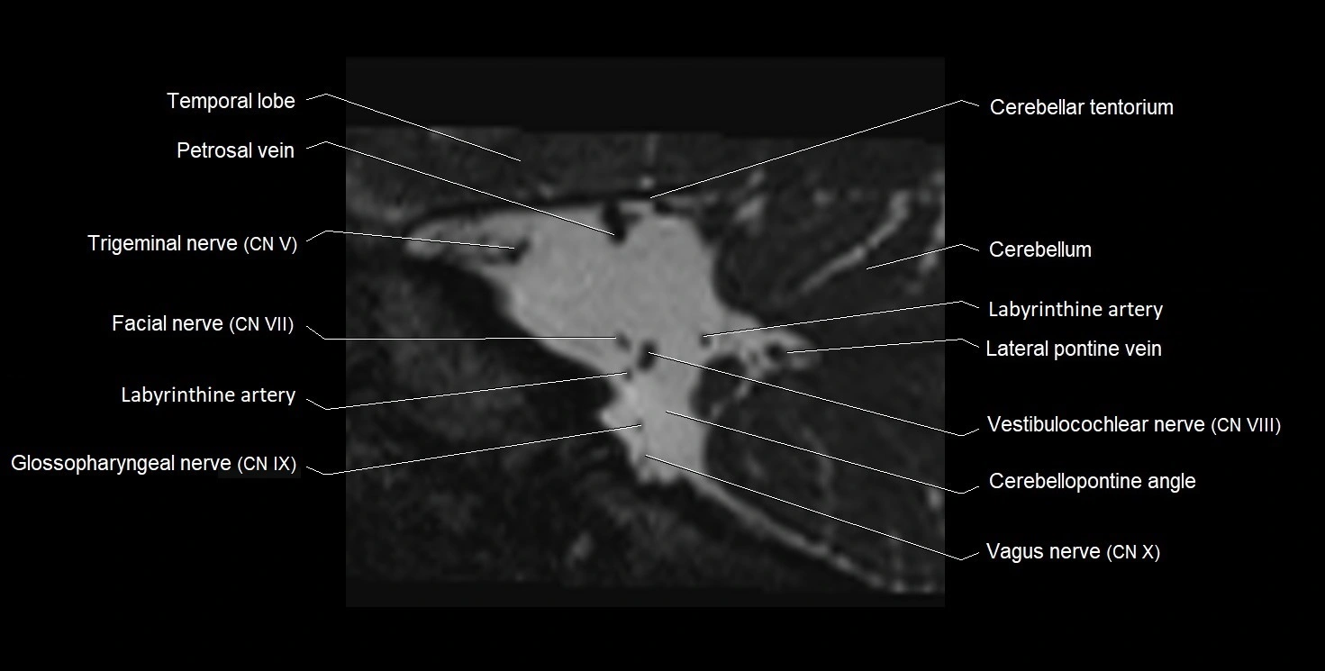
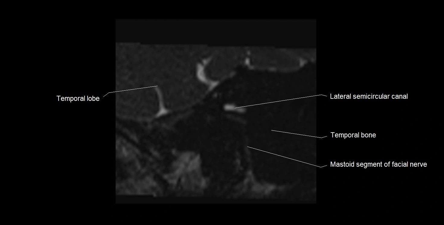
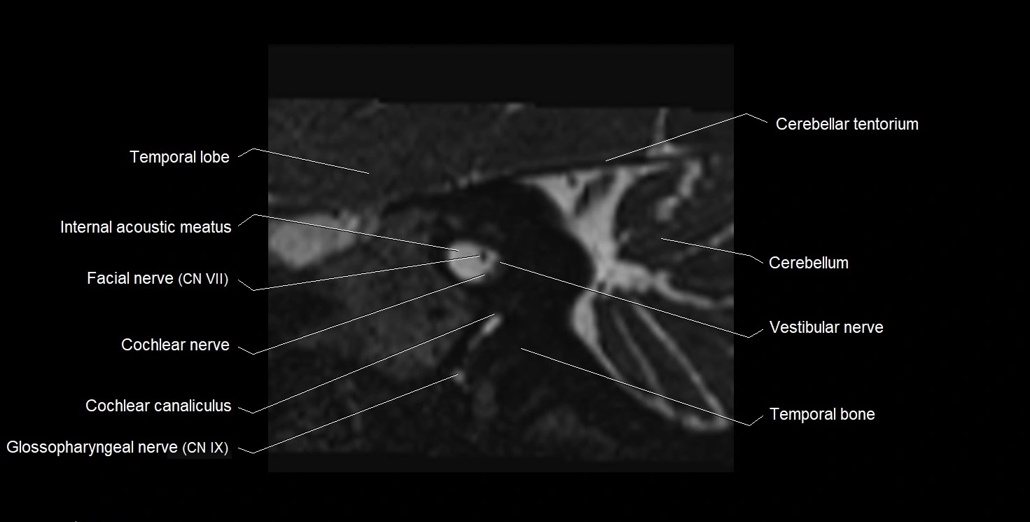
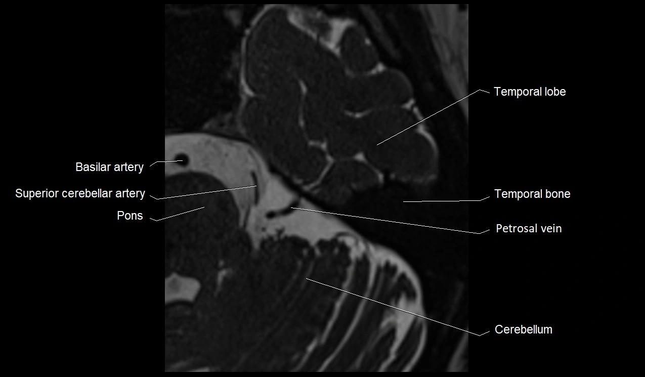
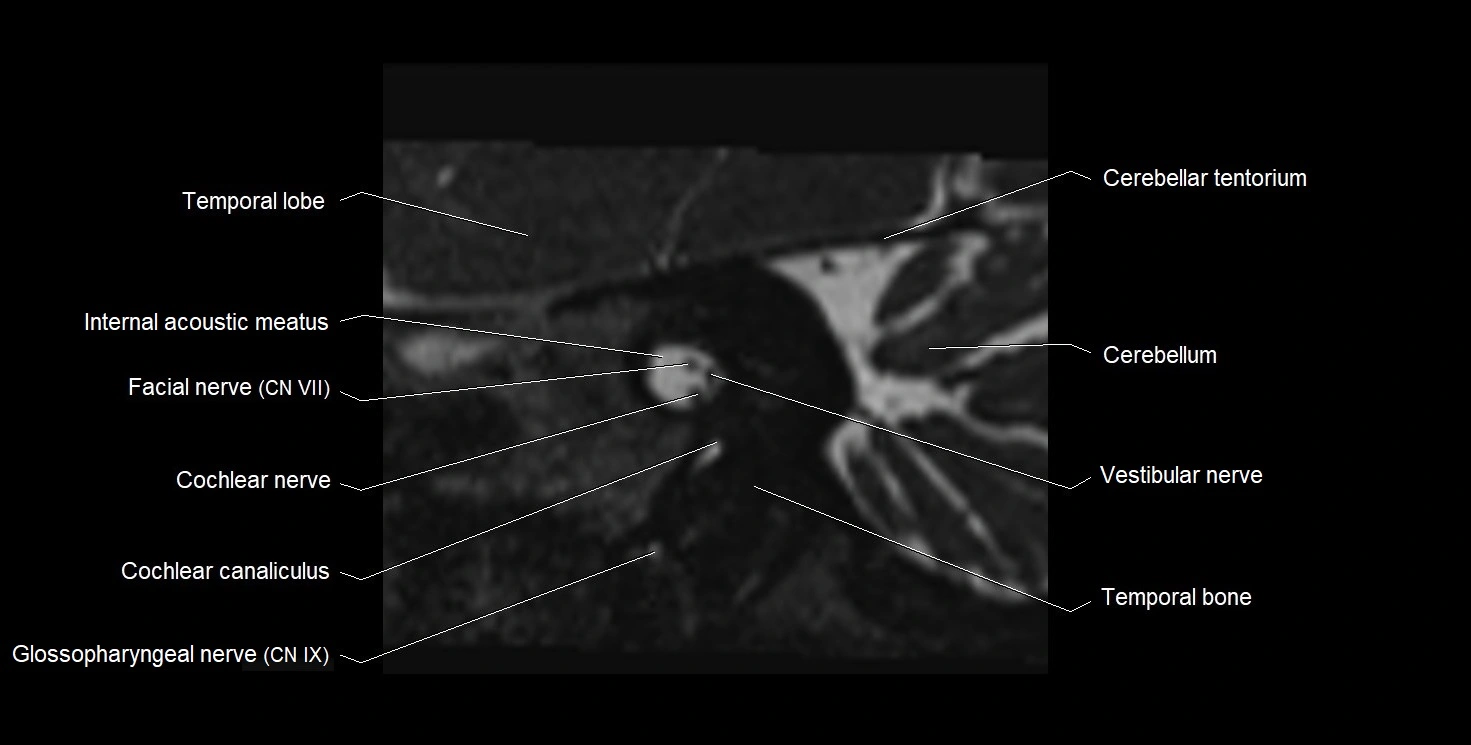
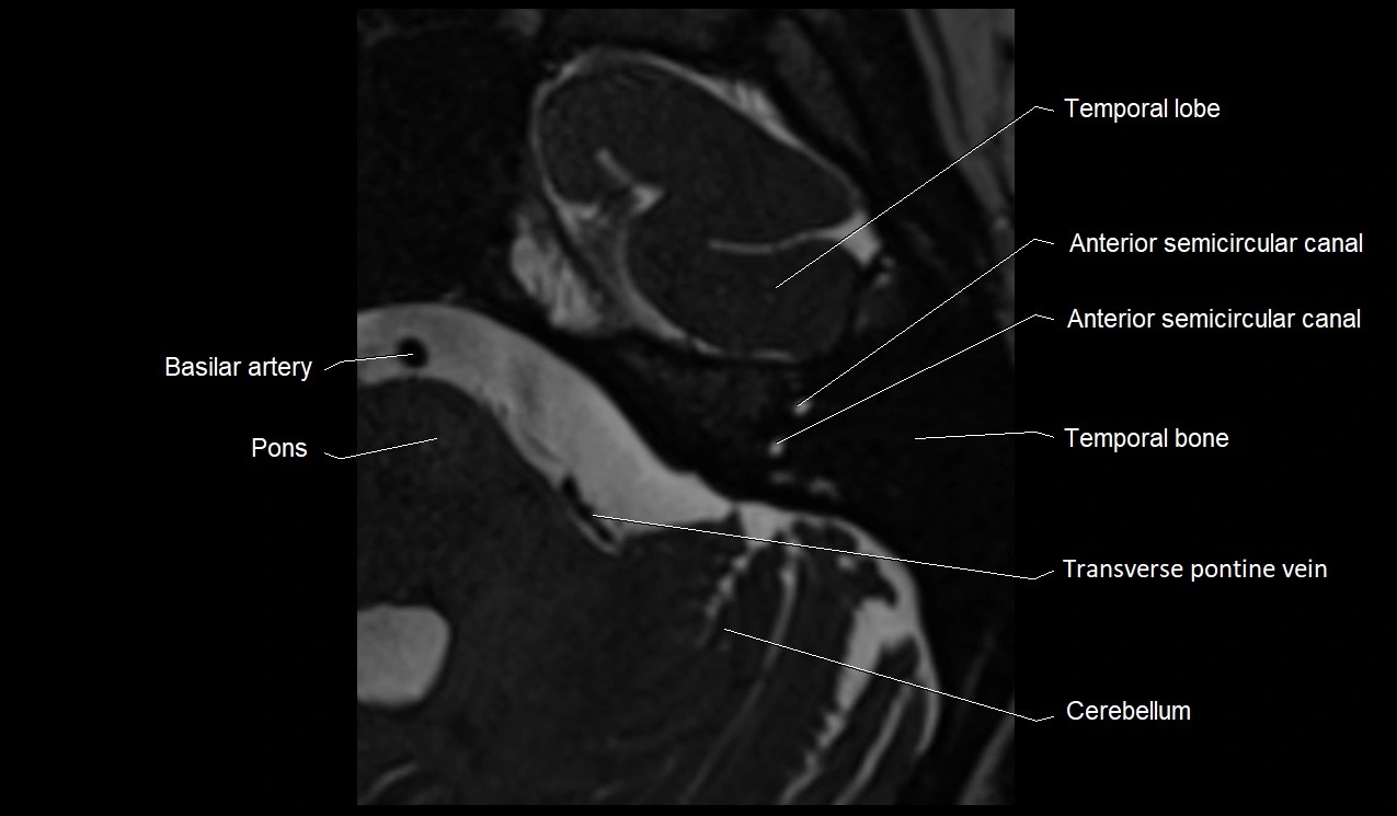
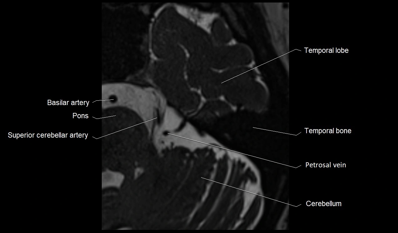
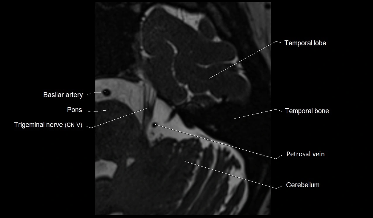
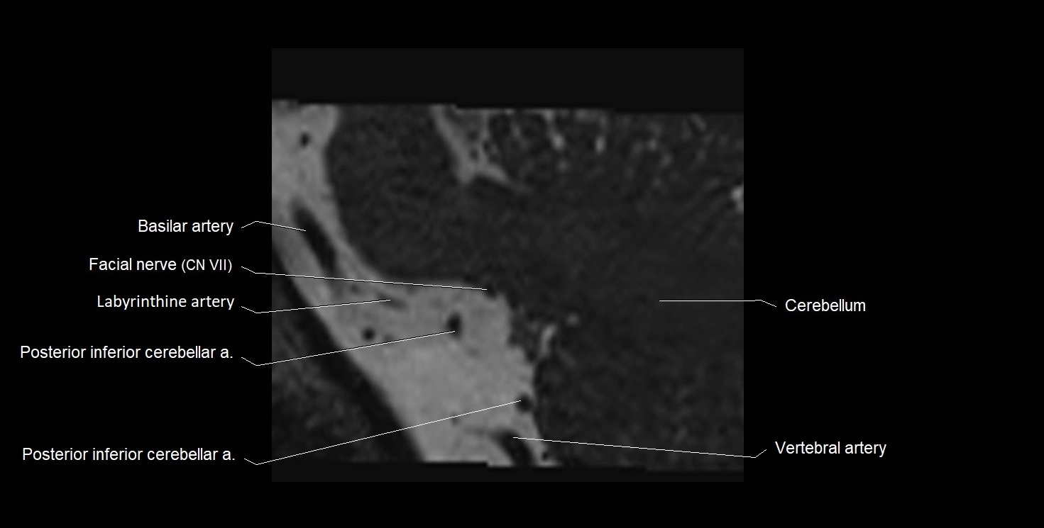
MRI Appearance

  • The abducens nerve is a small, thin, linear structure

  • Best visualized on high-resolution T2-weighted 3D MRI sequences (e.g., FIESTA or CISS)

  • Seen as a hypointense (dark) line running from the brainstem at the pontomedullary junction, traversing the prepontine cistern, and entering Dorello’s canal under the petrosphenoidal ligament, then into the cavernous sinus, and finally the orbit

  • May be challenging to visualize in standard MRI due to its small size

  • Pathology may be inferred by absence, displacement, or enhancement of the nerve

CT Appearance

  • The nerve itself is not directly visualized on conventional CT due to its small size and soft tissue density

  • Indirect signs: assessment of the bony course, such as the Dorello’s canal, superior orbital fissure, or adjacent pathologies (fractures, masses, or inflammation) that could impinge the nerve

  • CT is mainly used to exclude structural lesions or fractures that might affect the course of CN VI

MRI images

image

MRI images

image

MRI images

image

TEST YOURSELF

🔒

Subscribe to access quizzes

Login & Subscribe
Fullscreen Image